사용하는 브레이크 캘리퍼 장착용 볼트 C의 길이는 프레임의 두께에 따라 다릅니다.프레임의 두께에 맞는 브레이크 캘리퍼 장착용 볼트 C를 사용하셔야 합니다.
브레이크 캘리퍼 장착용 볼트 C를 프레임 장착면에 삽입하고, 볼트의 돌출부 길이가 13mm 이여야 합니다.
(z) 13mm
또는 프레임의 두께를 확인하시고 아래 표에서 맞는 제품을 선택하시면 됩니다.
시마노 공식 메뉴얼 120페이지부터 확인 가능합니다.
Access Denied
시마노 캘리퍼 픽싱 볼트 사이즈 문의
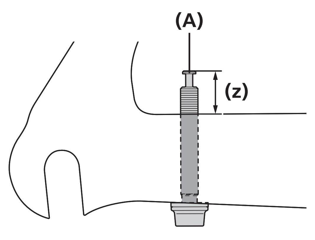
사용하는 브레이크 캘리퍼 장착용 볼트 C의 길이는 프레임의 두께에 따라 다릅니다.프레임의 두께에 맞는 브레이크 캘리퍼 장착용 볼트 C를 사용하셔야 합니다.
브레이크 캘리퍼 장착용 볼트 C를 프레임 장착면에 삽입하고, 볼트의 돌출부 길이가 13mm 이여야 합니다.
(z) 13mm
또는 프레임의 두께를 확인하시고 아래 표에서 맞는 제품을 선택하시면 됩니다.
시마노 공식 메뉴얼 120페이지부터 확인 가능합니다.
Access Denied